Các bản vẽ thiết kế cầu thang xoắn ốc, lượn đẹp nhất hiện nay

Những mẫu bản vẽ thiết kế cầu thang xoắn ốc ấn tượng nhất

Nếu bạn đang tìm kiếm những bản vẽ thiết kế cầu thang xoắn để tham khảo và thi công thì theo dõi bài viết dưới đây. AWE sẽ chia sẻ cho bạn những bản vẽ cầu thang xoắn ấn tượng và những mẫu cầu thang xoắn đẹp nhất hiện nay. Tìm hiểu ngay!

Khi nào nên sử dụng cầu thang dạng xoắn?

Cầu thang xoắn là dạng cầu thang lượn nhưng đặc biệt hơn, dạng cầu thang này thường xoắn quanh trục của nó. Cầu thang xoắn mang lại một nét đẹp thẩm mỹ riêng và phù hợp với nhiều công trình kiến trúc và nội thất.

Khi nào nên sử dụng cầu thang dạng xoắn ốc

Vậy khi nào nên sử dụng cầu thang dạng xoắn? 

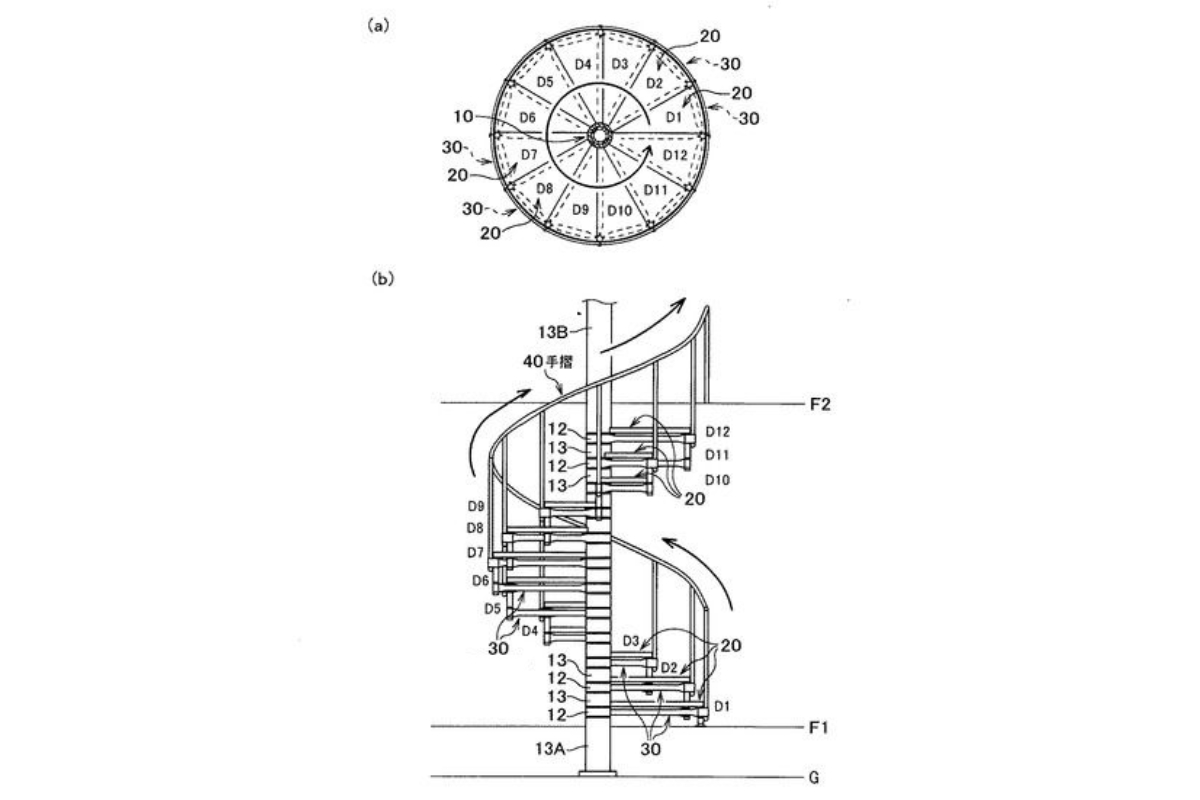
Những bản vẽ thiết kế cầu thang xoắn ấn tượng

Dưới đây là tổng hợp những bản vẽ thiết kế cầu thang xoắn ấn tượng. Trong quá trình thiết kế và thi công, bạn cần lưu ý tính toán chiều cao và khoảng cách giữa các vòng xoắn để đảm bảo công năng sử dụng.

Tìm hiểu thêm tại: Cách chia số bậc cầu thang chính xác nhất và những lưu ý quan trọng.

Bản vẽ cầu thang xoắn ốc

Bản vẽ cầu thang xoắn ốc

Bản vẽ cầu thang xoắn ốc

Bản vẽ thiết kế cầu thang xoắn ốc

Bản vẽ cầu thang xoắn ốc

Thiết kế cầu thang xoắn ốc, lượn

Bản vẽ thiết kế cầu thang lượn

Bản vẽ thiết kế cầu thang lượn đẹp

Bản vẽ thiết kế cầu thang xoắn ốc

Bản vẽ thiết kế cầu thang xoắn ốc ấn tượng

Bản vẽ thiết kế cầu thang xoắn ốc

Bản vẽ thiết kế cầu thang xoắn ốc

Những bản vẽ cầu thang xoắn ốc đẹp, ấn tượngXem thêm bài viết: Mẫu cầu thang cho nhà lệch tầng đẹp

Những mẫu cầu thang xoắn đẹp nhất hiện nay

Bạn có thể tham khảo những mẫu cầu thang xoắn, cầu thang lượn đẹp hiện nay dưới đây để ứng dụng trong quá trình lên ý tưởng và thiết kế:

Mẫu cầu thang xoắn ốc hiện đại

Trang trí cầu thang xoắn ốc đẹp

Mẫu cầu thang xoắn ốc hiện đại

Mẫu cầu thang xoắn ốc hiện đại

Mẫu cầu thang xoắn ốc đẹp

Mẫu cầu thang xoắn ốc ấn tượng

Mẫu cầu thang xoắn ốc ngoài trời

Mẫu cầu thang xoắn ốc ngoài trời đẹp

Mẫu cầu thang xoắn ốc ngoài trời

Mẫu cầu thang xoắn ốc ngoài trời

Mẫu cầu thang dạng lượn ngoài sân

Mẫu cầu thang dạng lượn ngoài sân

Mẫu cầu thang dạng lượn trọng nhà

Mẫu cầu thang dạng lượn trọng nhà

Mẫu cầu thang lượn đẹp

Cầu thang lượn đẹp

Mẫu cầu thang xoắn ốc đẹp

Cầu thang xoắn ốc đẹp

Mẫu cầu thang xoắn ốc đẹp

Mẫu cầu thang xoắn ốc đẹp

Mẫu cầu thang xoắn ốc đẹp

Cầu thang xoắn ốc tại trường Kinh tế Quốc dân

Trên đây, AWE đã chia sẻ cho bạn những bản vẽ thiết kế cầu thang xoắn đẹp và ấn tượng. Bạn cần biết khi nào nên sử dụng cầu thang xoắn để phù hợp với phong cách thiết kế kiến trúc và công năng sử dụng. Hy vọng với những mẫu cầu thang xoắn trên đã giúp bạn tìm được câu trả lời thỏa mãn. Cảm ơn bạn đã đọc bài viết này.

AWE là trường dạy nghề thiết kế và công nghệ tại Hà Nội. Với hơn 10 năm kinh nghiệm trong lĩnh vực đào tạo nghề nội thất, kiến trúc,… AWE tự tin mang tới cho bạn lộ trình học chuẩn, các kiến thức phù hợp với hiện tại và những kinh nghiệm thực tế để bạn tự tin làm nghề. Nếu bạn có niềm đam mê với ngành thiết kế, hãy liên hệ với AWE qua HOTLINE 0932 662 186 để được tư vấn hỗ trợ. 

Tham khảo thêm các khóa học của AWE:


TRƯỜNG ĐÀO TẠO THIẾT KẾ VÀ CÔNG NGHỆ AWE

Địa chỉ: Số 9 Ngõ 102, Khuất Duy Tiến, Thanh Xuân, Hà Nội

Hotline: 0932 662 186

Fanpage: facebook.com/hocthietkenoithat

Tiktok: tiktok.com/@aweeducation

Youtube: youtube.com/@truongAWE

Subscribe
Notify of
guest

0 Góp ý
Inline Feedbacks
View all comments

Tin liên quan

AWE VÀ HÀNH TRÌNH THEO ĐUỔI TRIẾT LÝ ĐÀO TẠO “LẤY NHÂN CÁCH NGHỀ LÀM GỐC”
VINH DANH VÀ TRI ÂN ĐỐI TÁC ĐỒNG HÀNH CÙNG AWE
Thông báo sự kiện: khai giảng năm học 2025-2026 và tri ân 43 năm ngày nhà giáo Việt Nam 
Bộ đội ra quân học nghề gì? Top 11 việc làm thu nhập lương cao
Những nguyên tắc thiết kế cầu thang theo phong thủy cần nhớ để tránh
Thiết kế nhà vệ sinh dưới cầu thang đẹp, hiện đại, hợp phong thủy
Cập nhật các ký hiệu điện trong bản vẽ AutoCAD mới nhất dành cho bạn
12 ngành nghề con gái nên học khi học khối C
Cách dùng Lisp xuất tọa độ trong CAD, 5 lisp phổ biến nhất
Hướng dẫn cách xuất tọa độ trong CAD sang file Excel dễ dàng
Cách sửa lỗi font chữ trong CAD đơn giản, chắc chắn thành công
Tiêu chuẩn kích thước vách ngăn phòng khách hiện nay
DMCA.com Protection Status